ロウリュの種明かし―熱波師のロウリュは何が違う? |熱波をお届け!#10
熱波師のじゃがさんによる、熱波をもっと楽しむ方法を提案していく連載です。
みなさんこんにちは、熱波師のじゃがです。新年度も熱波してますか?
サウナストーンに水をかけて蒸気を発生させることをフィンランド語で「ロウリュ」といいます。多くの熱波師は前口上でロウリュの説明をし、かくいう私も話しています。
ただお客さんの反応をみるに、ロウリュという言葉は説明不要なくらい浸透してきているようです。セルフロウリュ可能なサウナ施設が増え、これまではある意味で熱波師の特権だった「ロウリュをする」ことも一般化しつつあるからかもしれません。
ただ水をぶっかけているように見えるロウリュも、熱波師は意外と考えながらやっています。なので今回は、熱波師目線でロウリュを掘り下げてみたいと思います。サウナーの皆さんがセルフロウリュする時の参考になれば幸いです。
ロウリュの効果
サウナイキタイをご覧いただいているド級のサウナー各位に改めて語るのは恥ずかしいくらいですが、ロウリュの効果を説明していきます。
体感温度を上げる
ロウリュをすることで蒸気が拡散し、サウナ室内の湿度が上がります。50度のサウナ室は余裕で入れても、50度の湯船は熱くて入れないように、湿度が上がると空気中の水蒸気が熱を多く含むようになるため、体感温度が高くなります。
これにより、サウナ室の温度は同じでも、発汗が促されます。
空気の流れを作る
サウナの上段が熱いのは、空気が熱くなると膨張して軽くなり上に浮かぶ性質を持つからです。ロウリュによって発生した蒸気も熱い空気の上昇気流に乗って天井へ昇っていき、温度の高い蒸気に押し出されるように天井に溜まっていた空気が下へ降ります。
結果、サウナ室内全体に空気の流れが生じてムラなくかき混ぜられ、室内の温度差が少なくなります。
呼吸をしやすくする
ロウリュにより生じた蒸気はサウナ室内に空気の流れを起こし、古い空気を押し流してCO2濃度が下がり呼吸がしやすいサウナ室になる…ということは残念ながらありません。
ただ、空気が撹拌されてムラがなくなるという意味では、一部の座席のCO2濃度は下がり呼吸がしやすくなることはあるかもしれません。
熱波時におけるサウナ室内の温度・湿度・CO2濃度の推移例。サウナ室の環境を大きく変えるのはドア解放による換気です。(著者の計測データ)
ロウリュの効果は複数ありますが、簡単に言えばいつもより気持ちよくしっかり汗をかけるようになるということです。
ロウリュするときに熱波師が考えていること
お客さんにより気持ちよく汗をかいてもらうために、熱波師はどんなことを考えてロウリュをしているのでしょうか。
1.ストーブを壊さない
真っ先に考えているのは「サウナストーブを壊さないようにしよう」です。めちゃくちゃ現実的でごめんなさい。ただ、これは腰が引けたロウリュをしているというわけではなく、サウナストーブにダメージを与えない水のかけ方があるということ。
一般的なサウナ施設にある電気式のサウナストーブは、サウナストーンの中に電熱管(ヒーターエレメント)が下から縦方向に張り巡らされており、電熱管が周囲のサウナストーンを加熱することによってサウナ室をアツアツにします。
この電熱管に水がかかりすぎると劣化が早まる原因になりますし、蒸発しきれず根幹たる部分に達するくらい水をかけると漏電してサウナストーブのブレーカーが落ちます。ロウリュしすぎで怒られるのはこれが理由です。
「サウナ風呂用ストーブ」(特開2009-273651)図2,3より引用
サウナストーンで中が見えないのに電熱管に水がかからないようロウリュするなんて熱波師は写輪眼が使えるのから、と思うかもしれませんが、ご安心を。ひとつだけ確実な方法があります。それはサウナストーブの外側です。
熱波師がロウリュをしている光景を思い出してみてください。サウナストーブの外周部分にロウリュしているのではないでしょうか。外周部分には電熱管が通っていないので、サウナストーブの縁に水をかければ安全なのです。よって、写輪眼は必要ありません。
2.蒸気を操る
次に考えるのは蒸気のコントロールです。これは水系の能力者というわけではなく、サウナ室内の空気の動きを読み、最適解のロウリュを放つということです。
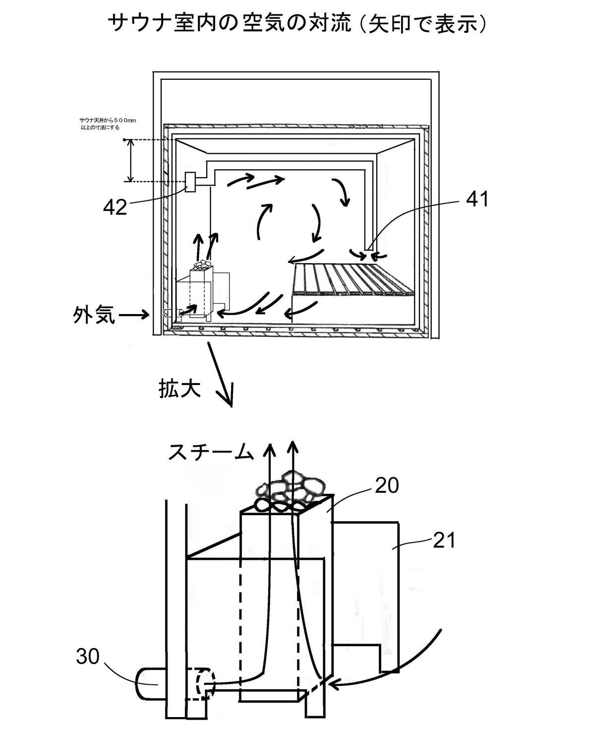
サウナ室には吸気口から外気が取り込まれ、排気口から放出されることで空気が流れています。さらに、サウナストーブという熱源によって暖かい空気が上へ、冷たい空気が下に流れる「対流」が起きているのですが、この流れにロウリュによる蒸気をぶつけることで、蒸気が対流にのってお客さんに降り注ぎます。
「サウナ装置」(実用新案登録3237499)図2より引用
熱波師がお客さんに蒸気を届けるためにコントロールしているのは注水速度と範囲です。この変数により同じ注水量でも立ち昇る蒸気の質が変わります。
広範囲にゆっくりかけると、蒸気はストーブからゆっくり昇り、対流にのって柔らかく降り注ぎます。反対に狭い範囲へ一気に注水すると、蒸気は一気に吹き上がったまま対流にのり、塊が落ちるかのごとく身体を包みます。
アツアツが好きなら一点集中でぶっかけたいところですが、蒸発しきれない速度で注水しすぎると、前述のように壊れる原因になるかもしれません。熱波師がパフォーマンスでぶっかけまくる時も、大抵は施設の規定量を守っています。大事なのは量より質。サウナーたるもの、サウナストーブに敬意を表し、ダメージを与えないロウリュをしようじゃありませんか。
3.香りを届ける
ロウリュでアロマが香る仕組みをご存じでしょうか。ざっくり言うと、アロマの香り成分が熱で気化し、蒸気を媒介に空気中に拡散することで、香りがお客さんに届くという具合です。
サウナ用の芳香液ではなくアロマオイル(精油)を使う機会も増えてきましたが、せっかくのこだわりアロマが上手く香らないことがあります。その要因の一つがサウナストーンの表面温度。温度が高すぎると、香りの成分が壊れたり、焦げてしまうのです。
そこで、まずロウリュで石の表面温度を一度下げてから、改めてアロマオイルを投入する方法をとります。これにより、香り成分の分解や焦げを防ぎながら、香りをしっかりと届けることができます。実は熱波師のロウリュには「香りを届けるためにサウナストーンの表面温度を下げる」という目的もあるのです。
サウナストーブの表面温度が250度以上の場合は、香りが熱で飛びやすい気がします。
4.場を掴む
長らく熱波をやっていて確信しているのは、ロウリュには場を掴む魔力があるということです。ラドルからサウナストーブに水が注がれ、サウナ室に響くロウリュ音。あの音を思い出すだけで身体が反応してしまう…。そんなサウナーも多いのではないでしょうか。
ロウリュが持つ魔力の正体は何か。ロウリュが人の身体に与える影響を明らかにする研究はまだ無いようですが、音、温度、匂いなどの複数の感覚が統合されることで、快適性が向上する結果が複数報告されています。いろんな説が考えられますが、私はこの五感同時刺激説が一番納得できるように思います。
水が爆ぜる音、全身に降り注ぐ蒸気の熱、アロマの香り。全ては熱波師がラドルからサウナストーブに水が投下される光景から始まります。それゆえに、熱波師がロウリュをするその瞬間には、聖なる儀式を見守るかのごとくサウナ室内の注目が集まります。熱波師がゆっくり焦らすようにロウリュをするのも、場を掴むための一つのテクニックだったりします。

ロウリュの匙加減を知る
ロウリュには「すぐに」「誰にでも」わかりやすくサウナ室の環境を変える力があります。それだけに、使い方を間違えると自分の身体に跳ね返ってくる諸刃の剣。加減がわからずセルフロウリュで自滅したことがあるサウナーも少なくないでしょう。ロウリュはサウナ室という素材を活かす調味料のようなもの。適度な加減がサウナ室のポテンシャルを引き出します。
熱波師としてたくさんロウリュをしていると、サウナ室の容積やサウナストーブの出力、使用するラドルから、「何杯かけたらこれくらいの体感温度になるな」という感覚が身につきました。そして、サウナ室の温度や湿度を自分の肌で感じ、お客さんの表情や発汗の状況を読みながらロウリュを放つようになりました。熱波師だから特別なロウリュを放てるということはありません。違いがあるとしたら自分ではなく人のためにロウリュを放てることです。
日本のサウナは高温低湿のドライサウナが主流でしたが、セルフロウリュ式サウナの普及により温度と湿度の二軸でサウナが楽しめるようになってきました。今はロウリュはアトラクションのひとつかもしれませんが、いずれロウリュが一般化し、ロウリュをしたことがないサウナーの方が珍しい時代がくるでしょう。その時は、みなさんも自分が放つロウリュの匙加減がわかるようになっているでしょうね。
記事の感想をいただけると
次回の記事の励みになります!
記事を書いた人











もはや有料記事レベル。 ロウリュのやり方を知れて、読み応えがありました!
セルフロウリュの時に参考にします😆
勉強になります😃ありがとうございます😊
熱波師さんの視点からロウリュを知り、あの心地よい空間はこんなふうに作られていたんだ〜と💡 改めて熱波師さんの技術を知ることができました✨
ロウリュ未経験の私です
これほどロウリュについて分析的に(かつユーモアも交えつつ)記された文章は初めて読みました。 べんきょうになりました。ありがとうございます。
勉強になりました。 いつも有り難うございます^_^
熱波師さんに感謝っ!!!
学びになる内容紹介、ありがとうございます!
興味深いお話でした🌿ロウリュが更に楽しみになりました!ありがとうございます🧖♀️✨
とっても勉強になりました
一気に読んでしまった。 とてもためになりました✨
ロウリュについて初めて詳しく知りました! ありがとうございます😊
勉強になりました🔥♨️😆ロウリュもなかなか奥深い✨